2024.02.01
ソニーの新製品の噂まとめ。「ZV-E10 II」「FE 85mm F1.4 GM II」「FE 24-50mm F2.8 G」「FE 16-25mm F2.8 G」「α1 II」「α7S IV」「FE 24-200mm F2.8-4 G OSS」「VILTROX AF 40mm F2.5 FE」「VILTROX AF 56mm F1.7 FE」「VILTROX AF 135mm F1.8 FE」など。
ソニーの新製品の噂まとめ2024年1月。
- APS-C
- APS-C Eマウント
- APS-Cミラーレス
- Cinema Line
- Cinema Line FX3 II
- Eマウント
- FE 16-25mm F2.8 G
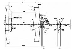
- FE 24-200mm F2.8-4 G OSS
- FE 24-200mm F2.8-4.5 G OSS
- FE 24-50mm F2.8 G
- FE 85mm F1.4 GM II
- FEレンズ
- FX3 II
- FX3シリーズ
- FXシリーズ
- G-MASTER
- Gマスター
- ILCE-1M2
- ILCE-7SM4
- ILME-FX3M2
- SEL1625G
- SEL24200G
- SEL2450G
- SEL85F14GM2
- VLOGCAM
- VLOGCAM ZV-E10 II
- Vlogger
- ZV-E10M2
- ZVシリーズ
- α1 II
- α7
- α7S IV
- カムコーダー
- シネマラインα
- フルサイズ
- フルサイズEマウント
- フルサイズミラーレス
- ミラーレス
- レンズ
- 高倍率ズーム

















































