Ricoh has a new patent for an 18.3mm f/2.8 lens, most likely designed for the rumored GR IV camera - Pentax & Ricoh Rumors
Pentax & Ricoh Rumorsに、リコーのレンズ特許の話が掲載されています。
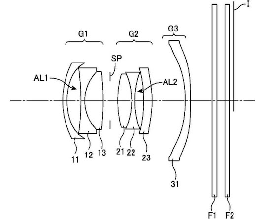
- リコーは「GR IV」と噂されているカメラ向けと見られる18.3mm F2.8レンズの新しい特許出願を行った。
- 特許出願番号JP2025-069515Aは2023年10月18日に提出され、オンラインで公開された。
- この特許出願には8つの数値例が含まれている。
- これらのすべての例において、イメージサークルの半径は14.13mmであり、バックフォーカスは非常に短い0.7mmである。
- したがって、これらはレンズ一体型のAPS-Cコンパクトカメラ用に設計されたレンズである。
- 言い換えれば「Ricoh GR」向けである。
- 例1〜3および例8は、18.35mm F2.85〜F2.89のレンズである。
- 例4は18.35mm F2.39レンズである。
- 例5は15.7mm F2.88レンズである。
- 例6は17mm F2.78レンズである。
- 例7は16.41mm F2.79レンズである。
- 対応するレンズ図のほとんどは「GR III」の18.3mm F2.8と類似しており、唯一の違いは非球面レンズである第7レンズエレメントが追加されている点である。
Source: Mistral75 via PentaxForums
とのこと
JJC 自動開閉式レンズキャップ Ricoh GR Mark III GR3 GRM3 GRIII HDF 専用 レンズ保護 防塵 耐スクラッチ
カメラ用品 人気アイテム
「RICOH」カテゴリの最新記事
リコー「GR IV Monochrome」予約開始も需要が供給超え。EU公式が「3月まで配送影響」示唆
製品企画部 部長が語るリコーGRとPENTAXの未来:「フィルム版GR」「GRシリーズのEVF」など
「BCN AWARD 2026」発表:コンデジはコダック、ミラーレスはソニー、レンズはタムロン、アクションカメラはDJIがトップ
「GR IV Monochrome」レビュー:ネックは価格。それでも“美しいモノクロ描写×高性能な超小型ボディ”は唯一無二
リコー「GR IV Monochrome」正式発表。「GR IV」との違いは?価格差約9万円の理由。
CAMEOTA.com 2025年メーカー人気ランキング TOP10
2025年のリコー&ペンタックスに対するPetaPixelの最終評価は「B+」
2025年のカメラの噂の振り返りと2026年に登場する可能性があるカメラの噂【リコー&ペンタックス編】
リコーがGR IVのHDF搭載モデル「RICOH GR IV HDF」を正式発表。電子シャッターも搭載。
ペンタックス・フィルム・プロジェクトから「ESPIO 140」が登場する!?
リコーが「GR III」「GR IIIx」「GR IV」の電源OFF画面を、「GR DIGITAL」20周年を記念したデザインの変更する無償サービスを提供。
マップカメラの2025年10月の販売ランキング。ニコン「ZR」が初登場でトップになった模様。























































